Lissage additif 
Objectifs - Objectifs⚓
Utiliser la commande Lissage additifW
dans l'atelier
Part Design;Utiliser la commande Ellipse par centreW
;
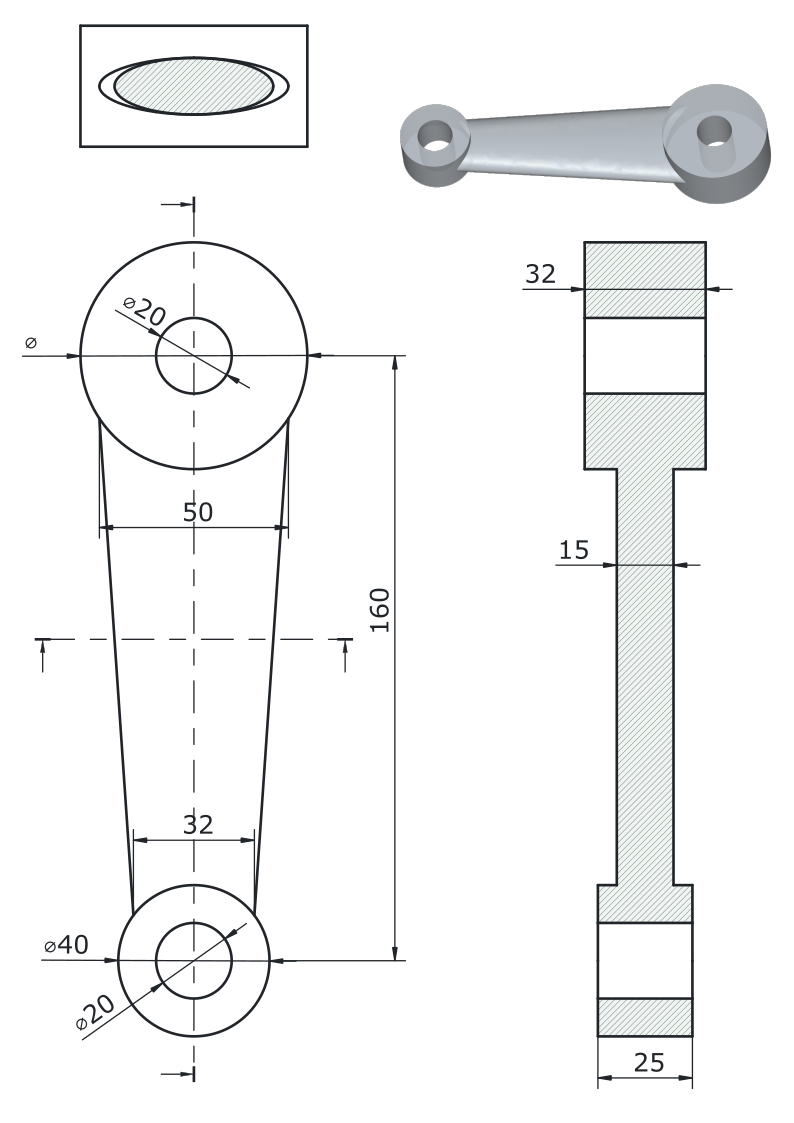
Nous allons modéliser le solide suivant : (cf. TP4-1-Plan.pdf)
La nervure sera obtenue à l'aide d'une commande de lissage
d'une ellipse inférieure à une ellipse supérieure.

Dans un premier temps, il faut positionner le centre de ces ellipses.
Tâches à réaliser - Tâches préliminaires⚓
Créer un nouveau document
TP4-1dans FreeCAD ;Créer un nouveau corps
;
